상세형
요약형
검색
로그인
로그인
메뉴
로그인
회원가입
아이디찾기
비밀번호찾기
ntis
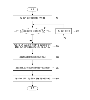
국가R&D성과평가
과제참여·관리
연구자·연구기관
연구개발성과
데이터활용
R&D플러스
OPEN R&D
ntis
홈
홍보
설정
로그인
찾기
검색
메뉴
로그인
회원가입
아이디찾기
비밀번호찾기
홈
홍보
마이메뉴
행사소개
기술분류
출품기술
참가/상담신청
오시는길
출품기술
전체
기술명(타이틀)
특허명(명칭)
보유기관 및 연구자
기술분야
내용
검색
기술분류
전체
인공지능(AI)
정보/통신
스마트모빌리티
에너지/친환경
의약/바이오
기계
소재/부품
반도체/디스플레이
해양/수산
농림식품
기타
더보기
닫기
전체
인공지능(AI)
정보/통신
스마트모빌리티
에너지/친환경
의약/바이오
기계
소재/부품
반도체/디스플레이
해양/수산
농림식품
기타
부처
전체
과학기술정보통신부
농림축산식품부
산업통상자원부
보건복지부
환경부
국토교통부
해양수산부
산림청
특허청
더보기
닫기
전체
과학기술정보통신부
농림축산식품부
산업통상자원부
보건복지부
환경부
국토교통부
해양수산부
산림청
특허청
다중상담신청
기술거래결과 유무
리스트타입
카드타입
131
기술사진
정수처리 공정을 위한 자율운영방법
빅데이터
한국수자원공사
김대욱
TRL 6
추후 협의
상담신청
130
기술사진
인공지능 기반의 조력발전 자동운영 시스템
지능형로봇
한국수자원공사
이명원
TRL 5
추후 협의
상담신청
129
기술사진
인공지능 기반의 수질 예측 장치 및 이를 이용하는 방법
지능형로봇
한국수자원공사
권정주
TRL 5
추후 협의
상담신청
128
기술사진
인공지능 기반 상수도관 노후도 평가 시스템 및 방법
빅데이터
한국수자원공사
임정업
TRL 5
추후 협의
상담신청
127
기술사진
인공지능 기반의 홍수 예측 장치 및 이를 이용하는 방법
지능형로봇
한국수자원공사
권정주
TRL 5
추후 협의
상담신청
126
기술사진
인공지능 기반의 정수장 통합운영시스템
빅데이터
한국수자원공사
김대욱
TRL 6
추후 협의
상담신청
125
기술사진
인공지능 기반 수도사업장 스마트 에너지 관리 시스템 및 방법
빅데이터
한국수자원공사
이성현
TRL 5
추후 협의
상담신청
124
기술사진
위치 추적 시스템을 시험하는 장치 및 방법
빅데이터
한국항공우주연구원
김석권
TRL 4
추후 협의
상담신청
123
기술사진
사용자 단말에서의 상품 구매 내역 기반 컨텍스트 생성 장치 및 상품 추천 로컬 서비스 플랫폼
빅데이터
한국전자통신연구원
임종철
TRL 3
추후 협의
상담신청
122
기술사진
드론 연동 방식 3차원 공간 청소 로봇 및 그 구동 방법
지능형로봇
한국광기술원
사기동
TRL 3
추후 협의
상담신청
121
기술사진
이미징 센서 및 이의 제조 방법
빅데이터
한국전자통신연구원
이문섭
TRL 4
추후 협의
상담신청
120
기술사진
인공 지능 이용한 볼트의 피로 수명 예측 시스템 및 방법
지능형로봇
한양대학교 에리카 산학협력단
오제훈
TRL 5
추후 협의
상담신청
119
기술사진
위급상황 인지기능을 갖춘 가정용 홈케어 AI 낙상감지 시스템
지능형로봇
금오공과대학교 산학협력단
신수용
TRL 4
추후 협의
상담신청
118
기술사진
연관 키워드 그룹 자동 생성 방법 및 그 시스템
빅데이터
한국과학기술정보연구원
양혜영
TRL 4
추후 협의
상담신청
117
기술사진
무선 에너지 하베스팅에서 무선 정보 및 전력 동시 전송을 위한 분배 알고리즘을 사용한 에너지 효율 극대화 시스템 및 방법
빅데이터
전남대학교 산학협력단
최용훈
TRL 4
추후 협의
상담신청
116
기술사진
기계학습을 이용한 단계적 태양광 발전량 예측 장치 및 방법
빅데이터
광주과학기술원
김윤수
TRL 4
추후 협의
상담신청
115
기술사진
클라우드 기반 딥러닝 작업의 수행시간 예측 시스템 및 방법
빅데이터
국민대학교 산학협력단
이경용
TRL 6
추후 협의
상담신청
114
기술사진
지능형 자율 관수 시스템
지능형로봇
안동대학교
김병순
TRL 3
추후 협의
상담신청
113
기술사진
증강현실 기반의 의류 판매 서비스 제공 장치 및 방법
빅데이터
건국대글로컬
정혜경
TRL 4
추후 협의
상담신청
112
기술사진
전자기기의 비침식 부하 모니터링 시스템 및 그 방법
빅데이터
한국광기술원
김민국
TRL 3
추후 협의
상담신청
1
2
3
4
5
6
7
행사소개
빠른서비스
참가신청
신청확인
출품/기술
기술이전 사업화
닫기